
SKF進口軸承代理鼎力晟業(yè)為用戶提供高品質的BTM90B/P4CDBB軸承,無論是工業(yè)配套還是維修市場,用戶都可以在這里找到貨期最短的SKF BTM90B/P4CDBB軸承,確保您的不間斷生產。
型號:BTM90B/P4CDBB
品牌:SKF
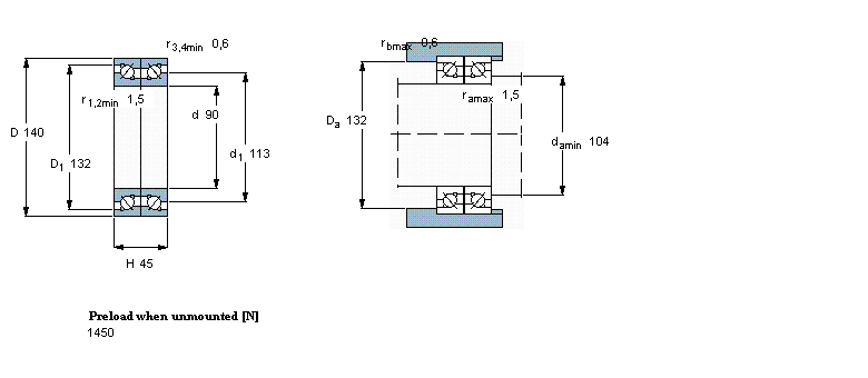
內徑:90
外徑:140
厚度:45
系列:雙向, 精密,高精度軸承, BTM .. B design, 40°, preload B
【
手機版 BTM90B/P4CDBB軸承
點擊量
更新日期:2021/12/28
】
電話:020-36026999 傳真:020-36705678 服務熱線:18924187999 郵箱:sales@gzbearing.cn
| 雙向, 精密,高精度軸承, BTM .. B design, 40°, preload B | |||||||||||
| 公差, 2344(00) 設計 , BTM 設計 | |||||||||||
| 推薦配合, shafts, housings | |||||||||||
| 軸和軸承座公差 | |||||||||||
|
|
|||||||||||
| 主要數據尺寸 | 基本負荷額定值 | 疲勞負荷限值 | 可達到的速度 | 體積 | 型號 | ||||||
| 動態(tài) | 靜態(tài) | 當潤滑與 | |||||||||
| 油脂 | 滴油潤滑 | ||||||||||
| d | D | H | C | C | C0 | Pu | |||||
|
|
|||||||||||
| mm | kN | kN | r/min | kg | - | ||||||
|
|
|||||||||||
| 90 | 140 | 45 | - | 51 | 112 | 4,5 | 3100 | 3900 | 2,30 | BTM 90 B/P4CDBB | |